压力传感器
压力传感器位置在空压机的排气端,测量排出油分芯后的空气压力,未经过油分芯过滤前的气流压力叫滤前压,当滤前压与滤后压差≥0.1MPa时就该更换油分芯了,另一端接PLC,并在显示屏显示压力的大小。


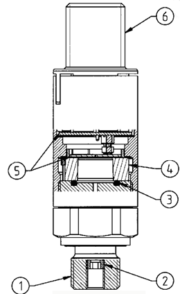
1 、安装连接
2 、介质泄漏保护
3 、密封材料
4 、陶瓷单元
5 、电子组件及电磁保护
6、 电气连接
压力传感器通常由压力敏感元件和信号处理单元组成,按不同测试压力类型,压力传感器可以分为表压传感器、差压传感器和绝压传感器。若根据结构与原理不同来划分,可分为:压阻式、压电式、电容式、应变式、振频式、光电式、超声式压力传感器等。
压力传感器的应用:
1、在液压系统中的应用:压力传感器在液压系统中主要是来完成力的闭环控制。当控制阀芯突然移动时,在极短的时间内会形成几倍于系统工作压力的尖峰压力。
2、在注塑模具中的应用:压力传感器可被安装在注塑机的喷嘴、热流道系统、冷流道系统和模具的模腔内,它能够测量出塑料在注模、充模、保压和冷却过程中从注塑机的喷嘴到模腔之间处的塑料压力。
2023-05-04 本文被阅读 715 次
| 上一篇:油气分离器 | 下一篇:进气阀 |

